Ceramic Heating Plate (MCH)

 
1. Configuration.
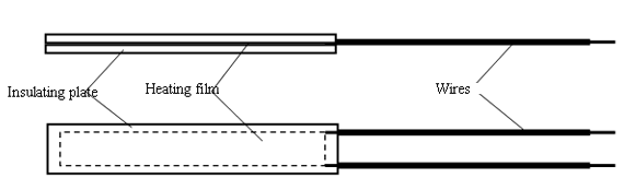
Heating plate with single insulator.
Heating plate with insulator on both two sides.
 

2. Some appliances.
     The insulating material is alumina ceramic usually, but others are possible, such as ceramic, glass, mica and so on. It can be used in hair straightener,hair crimper, film covering machine, and other appliances.

3. Notice in appliance.
     It’s rapid temperature rising, with small bulk, with high power in unit area. There is not temperature self-control character, temperature control circuit is needed. Over-temperature protector is needed for preventing failure of temperature control.
     Single side insulator type consists of noble metal as heating material. It’s long life, no oxygenation. And various temperature coefficient of resistance can be selected.

      Both sides insulator type consists of Mo-Mn alloy as heating material. It is longer life than wire heaters. It’s with temperature coefficient of + 2000~3000×10-6/℃. The power is changed slightly with temperature changing. Temperature control circuit is needed for controlling the temperature.

4. Current products.

part number

length
/mm

width
/mm

thickness
/mm

resistance
at 25℃ /Ω

insulator

high
pot/V

rate voltage/V

max. temperature
/ ℃

TCS-100R110L24W120V

110

24

1.0

100±10%

single side

1500

120V

250

TCS-100R110L15W120V

110

15

1.0

100±10%

single side

1500

120V

250

TC-50R70L20W120V

70

20

1.3

50±10%

both sides

3000

120V

250

TC-70R70L15W120V

70

15

1.25

70±10%

both sides

3000

220V

250

TC-70R70L10W120V

70

10

1.25

70±10%

both sides

3000

220V

250

TC-70R70L07W120V

70

7

1.25

70±10%

both sides

3000

220V

250

TC-160R70L20W220V

70

20

1.3

160±10%

both sides

3000

220V

250

TC-160R70L15W220V

70

15

1.25

160±10%

both sides

3000

220V

250

TC-160R70L10W220V

70

10

1.25

160±10%

both sides

3000

220V

250

TC-160R70L07W220V

70

7

1.25

160±10%

both sides

3000

220V

250

 

 

Tiancheng Thermistors Co., Ltd.
Add: No. 6, Xinfenglu road, Dabeiwan, Changping, Daojiao town, Dongguan, Guangdong, China,
Post code: 523041
Tel: 86-769-22271712,  22175083, 22185107, 22285948
Fax: 86-769-22278428
Contact:
Ms. Zhao, tel&wechat 13725732994
Ms. Shan, tel&wechat 13544682427
Mr. Zhu, tel&wechat 13602318093
QQ:1539872297
Skype: Xiaorong Zhu , S.Yang-PTC
E-mail: tcptc@tiancheng-ptc.com